|
Sportage Club - - дом, где живут Kia Sportage основан в 2006г. |
Внимание! В целях борьбы со спамом, новые пользователи НЕ могут начинать новые темы в форуме. Поэтому просьба задавать вопросы в уже существующих ветках, схожих по тематике. Надеемся на Ваше понимание.

Здравствуйте, гость ( Вход | Регистрация )
|
Индивидуальный подход, запчасти гарантированного качества, многолетний опыт, никакого официоза - дружеская атмосфера! |
Обновление программного обеспечения блока управления двигателем, добавит лошадей, крутящего момента, снизит расход. |
Чистые форсунки - залог хорошей работы двигателя. Мы проверяем и промываем форсунки на профессиональном стенде. |
![]() ![]() |
| Panzer38 |
Jul 29 2008, 01:06 PM
Сообщение
#1
|
![]() Я там был... Группа: Супер Администраторы Сообщений: 7,802 Регистрация: 1-February 07 Из: Москва. СЗАО Пользователь №: 2,551 место дислокации: м.Сходненская |
А еще поставил защиту радиатора спереди под бампером.
Теперь можно безбоязненно колоть лед в лужах, не боясь пропороть радиатор кондея Да и пух с одуванчиков будет меньше засасываться. -------------------- Mitsubishi Pajero Sport. 3.2d, SS, 2008. синий. лифт подвески +40мм. бокс на крыше.
|
| МихаилТ |
Jul 29 2008, 02:04 PM
Сообщение
#2
|
![]() внеранговый Группа: завсегдатый Сообщений: 6,917 Регистрация: 13-December 06 Из: Санкт-Петербург Пользователь №: 2,238 место дислокации: Приморский район, озеро Долгое |
А еще поставил защиту радиатора спереди под бампером. Теперь можно безбоязненно колоть лед в лужах, не боясь пропороть радиатор кондея Да и пух с одуванчиков будет меньше засасываться. интересно -------------------- |
| Panzer38 |
Jul 29 2008, 02:06 PM
Сообщение
#3
|
![]() Я там был... Группа: Супер Администраторы Сообщений: 7,802 Регистрация: 1-February 07 Из: Москва. СЗАО Пользователь №: 2,551 место дислокации: м.Сходненская |
интересно Хватает. И на трассе. И при стоянии в пробке при 30-ти градусной жаре. Стрелка температуры "как мертвая". Я тоже сначала думал, что греться будет. Даже были мысли насверлить отверстий в листе. Но, покатавшись так, понял, что нормально все. Хватает того воздуха, что сосется с боков и спереди, через решетку радиатора. Сообщение отредактировал Panzer38 - Jul 29 2008, 02:09 PM -------------------- Mitsubishi Pajero Sport. 3.2d, SS, 2008. синий. лифт подвески +40мм. бокс на крыше.
|
| vl@d |
Jul 29 2008, 05:14 PM
Сообщение
#4
|
![]() всеходящий ![]() ![]() ![]() ![]() ![]() ![]() ![]() ![]() ![]() ![]() Группа: завсегдатый Сообщений: 1,664 Регистрация: 5-November 07 Пользователь №: 3,605 место дислокации: Москва, марьино |
Panzer38
Симпотишно, а главное выглятет надежно -------------------- |
| Panzer38 |
Jul 29 2008, 05:37 PM
Сообщение
#5
|
![]() Я там был... Группа: Супер Администраторы Сообщений: 7,802 Регистрация: 1-February 07 Из: Москва. СЗАО Пользователь №: 2,551 место дислокации: м.Сходненская |
Железо 2 мм. По сгибам надрезал болгаркой чуть-чуть и гнул Хай-Джеком!
А керхером можно прекрасно "дунуть" и сбоку. -------------------- Mitsubishi Pajero Sport. 3.2d, SS, 2008. синий. лифт подвески +40мм. бокс на крыше.
|
| himikaliya |
Jul 29 2008, 05:53 PM
Сообщение
#6
|
![]() тут я живу)) ![]() ![]() ![]() ![]() ![]() ![]() ![]() ![]() ![]() ![]() Группа: завсегдатый Сообщений: 1,797 Регистрация: 16-May 07 Из: Краснознаменск Пользователь №: 2,719 место дислокации: М.О., Одинцовский р-н |
А еще поставил защиту радиатора спереди под бампером. Дааа, Серега, отпуск пошел тебе на пользу Тебе пора участвовать в передаче "Очумелые ручки", стока ты всего попеределал за последнее время. Можно свое тюнинговое ателье открывать, и налаживать производство Если шо - я в доле -------------------- Жопель Астра Ревущее Ведро
|
| Panzer38 |
Sep 9 2009, 11:08 PM
Сообщение
#7
|
![]() Я там был... Группа: Супер Администраторы Сообщений: 7,802 Регистрация: 1-February 07 Из: Москва. СЗАО Пользователь №: 2,551 место дислокации: м.Сходненская |
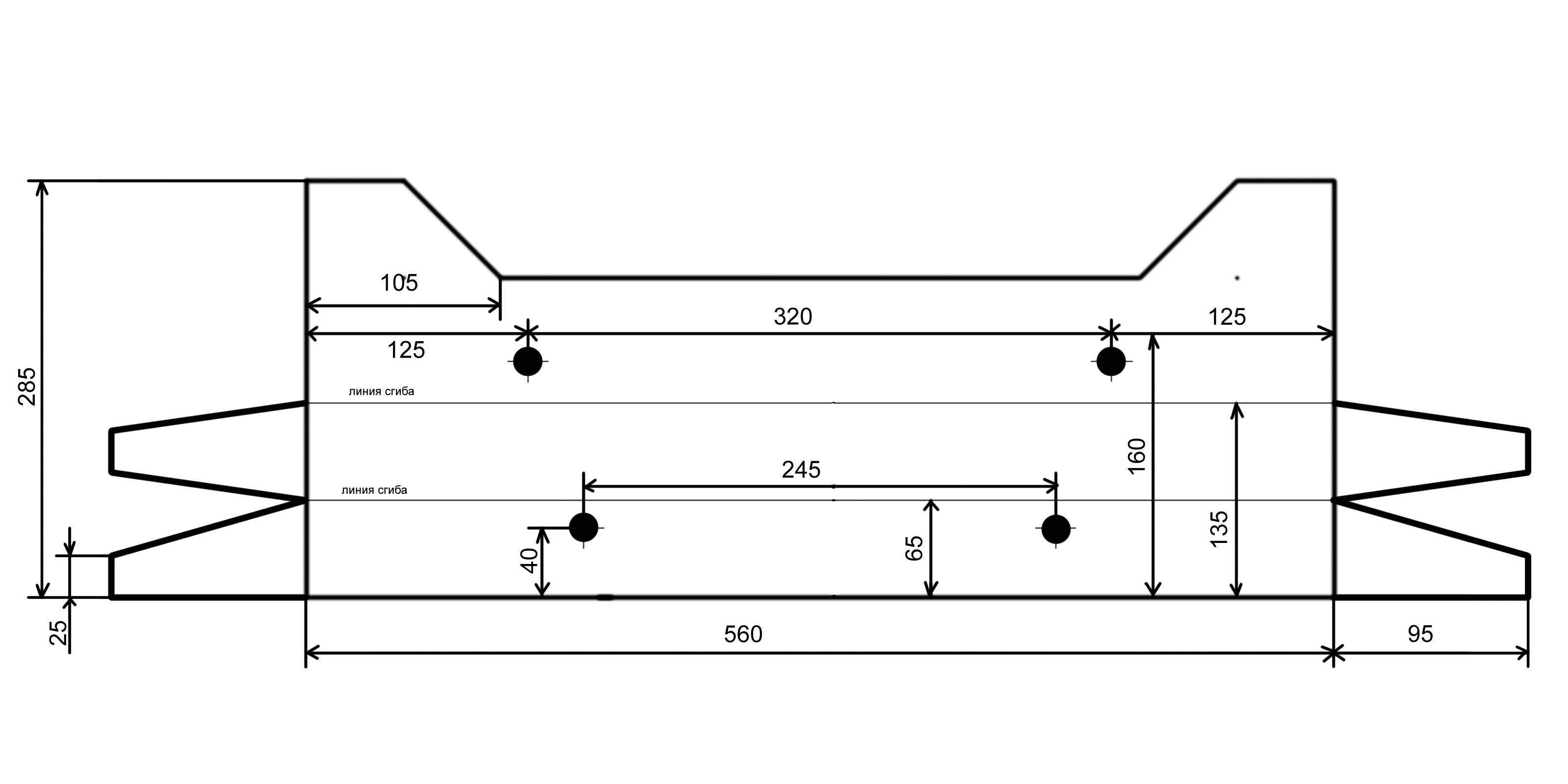
Наконец-то руки дошли ...
ВОт, выкладываю чертежик своей защиты радиатора. Материал - листовое железо 2мм По линиям сгиба слегка прошелся болгаркой и согнул под 45 град Боковые лепестки также подогнул вверх. Отверстия под болты - d8 или 10 .... уже не помню... У меня крепится двумя болтами, держащими спереди силовую защиту картера. В конце загрунтовал грунтом Hi-Gear с цинком и покрыл прозрачным антигравием. Уже больше года прошло - нет и намека на ржу .... В общем, кому интересно - пользуйтесь. -------------------- Mitsubishi Pajero Sport. 3.2d, SS, 2008. синий. лифт подвески +40мм. бокс на крыше.
|
| Maklaus |
Nov 8 2009, 12:32 AM
Сообщение
#8
|
![]() Мимо проходил Группа: мимо проходил Сообщений: 1 Регистрация: 7-November 09 Пользователь №: 6,870 место дислокации: Санкт-Петербург |
Цитата(P&nzer38 @ Sep 9 2009, 07:08 PM) [sn&pb&ck]83669[/sn&pb&ck] Наконец-то руки дошли ... ВОт, выкладываю чертежик своей защиты радиатора. Материал - листовое железо 2мм По линиям сгиба слегка прошелся болгаркой и согнул под 45 град Боковые лепестки также подогнул вверх. [&tt&c:-)mentid=5487] Отверстия под болты - d8 или 10 .... уже не помню... У меня крепится двумя болтами, держащими спереди силовую защиту картера. В конце загрунтовал грунтом :-)i-Ge&r с цинком и покрыл прозрачным антигравием. Уже больше года прошло - нет и намека на ржу .... В общем, кому интересно - пользуйтесь. На киа недавно, спасибо за совет - обязательно попробую! |
| Ikarik |
Aug 9 2010, 02:06 PM
Сообщение
#9
|
![]() Обитатель грязи! ![]() ![]() ![]() ![]() ![]() ![]() ![]() Группа: завсегдатый Сообщений: 924 Регистрация: 28-January 10 Из: г.Рязань Пользователь №: 7,306 место дислокации: г. Рязань |
Наконец-то руки дошли ... ВОт, выкладываю чертежик своей защиты радиатора. Материал - листовое железо 2мм По линиям сгиба слегка прошелся болгаркой и согнул под 45 град Боковые лепестки также подогнул вверх. Отверстия под болты - d8 или 10 .... уже не помню... У меня крепится двумя болтами, держащими спереди силовую защиту картера. В конце загрунтовал грунтом Hi-Gear с цинком и покрыл прозрачным антигравием. Уже больше года прошло - нет и намека на ржу .... В общем, кому интересно - пользуйтесь. Заинтересовал меня подобный девайс -------------------- |
| Panzer38 |
Aug 9 2010, 02:10 PM
Сообщение
#10
|
![]() Я там был... Группа: Супер Администраторы Сообщений: 7,802 Регистрация: 1-February 07 Из: Москва. СЗАО Пользователь №: 2,551 место дислокации: м.Сходненская |
Заинтересовал меня подобный девайс Этот размер не критичен. Я просто градусов под 45 отрезал. и все. -------------------- Mitsubishi Pajero Sport. 3.2d, SS, 2008. синий. лифт подвески +40мм. бокс на крыше.
|
| Ikarik |
Aug 9 2010, 02:20 PM
Сообщение
#11
|
![]() Обитатель грязи! ![]() ![]() ![]() ![]() ![]() ![]() ![]() Группа: завсегдатый Сообщений: 924 Регистрация: 28-January 10 Из: г.Рязань Пользователь №: 7,306 место дислокации: г. Рязань |
Этот размер не критичен. Я просто градусов под 45 отрезал. и все. Ну хоть примерно,на глаз Просто хочется заказать.Гнуть обещали на станке и оказалось что без этих размеров беда -------------------- |
| Panzer38 |
Aug 9 2010, 02:31 PM
Сообщение
#12
|
![]() Я там был... Группа: Супер Администраторы Сообщений: 7,802 Регистрация: 1-February 07 Из: Москва. СЗАО Пользователь №: 2,551 место дислокации: м.Сходненская |
Ну хоть примерно,на глаз Просто хочется заказать.Гнуть обещали на станке и оказалось что без этих размеров беда Ну поставь 45 . И как себя показала на практике? Показала себя хорошо! Неоднократно спасала от веток и сучьев, которые нападали на радиатор снизу. -------------------- Mitsubishi Pajero Sport. 3.2d, SS, 2008. синий. лифт подвески +40мм. бокс на крыше.
|
| Ikarik |
Aug 9 2010, 02:38 PM
Сообщение
#13
|
![]() Обитатель грязи! ![]() ![]() ![]() ![]() ![]() ![]() ![]() Группа: завсегдатый Сообщений: 924 Регистрация: 28-January 10 Из: г.Рязань Пользователь №: 7,306 место дислокации: г. Рязань |
Ну поставь 45 . Показала себя хорошо! Неоднократно спасала от веток и сучьев, которые нападали на радиатор снизу. Вот по этому очень сильнооо хочу такую штуку!!!!!! А вот ещё вопрос! Верхние отверстия, между которыми 320мм судя по самым первым фотам, не используются что-ли??? -------------------- |
| Panzer38 |
Aug 9 2010, 02:44 PM
Сообщение
#14
|
![]() Я там был... Группа: Супер Администраторы Сообщений: 7,802 Регистрация: 1-February 07 Из: Москва. СЗАО Пользователь №: 2,551 место дислокации: м.Сходненская |
А вот ещё вопрос! Верхние отверстия, между которыми 320мм судя по самым первым фотам, не используются что-ли??? Эти отверстия для болтов, которые должны были крепить защиту к закладным гайкам на передней балке рамы. К ним еще крепится, при установке, заводской кенгурин. Но, т.к. гнул защиту руками, ногами и хай-джеком В общем, защита держалась всего на двух нижних отверстиях. Как оказалось - этого достаточно. А теперь у меня такая защита: Но и бампер теперь ЖЕЛЕЗНЫЙ -------------------- Mitsubishi Pajero Sport. 3.2d, SS, 2008. синий. лифт подвески +40мм. бокс на крыше.
|
| Ikarik |
Aug 9 2010, 03:15 PM
Сообщение
#15
|
![]() Обитатель грязи! ![]() ![]() ![]() ![]() ![]() ![]() ![]() Группа: завсегдатый Сообщений: 924 Регистрация: 28-January 10 Из: г.Рязань Пользователь №: 7,306 место дислокации: г. Рязань |
Поняно
-------------------- |
| ghost |
Aug 9 2010, 10:13 PM
Сообщение
#16
|
![]() PRO-NOOB Группа: завсегдатый Сообщений: 10,748 Регистрация: 2-December 09 Из: Москва Пользователь №: 6,977 место дислокации: москва |
вод бы исчо какнить шрусы защитой прикрыть...
-------------------- |
| Александр 533 |
Aug 23 2010, 02:14 PM
Сообщение
#17
|
![]() вне рангов Группа: завсегдатый Сообщений: 4,002 Регистрация: 17-December 09 Из: Московская обл. Щелковский р-он. Пользователь №: 7,043 место дислокации: Московская обл. |
-------------------- Sportаge 2005, гранд, МКПП, бензин, 128 л/с, 16 кл. Калининград, лето - BFGoodrich All Terrain - T/A LT215/75/15 KO2, зима Marshal- KC 11 215/75/15, шиповка, всё на нивской штамповке, стальное брюхо 4 мм из 4 частей, силовой передний бампер, хай-джек, лифт-мейт, хабы - болтики "а-ля Тамбов".
Хочу, могу, умею и буду... |
| ghost |
Aug 23 2010, 07:15 PM
Сообщение
#18
|
![]() PRO-NOOB Группа: завсегдатый Сообщений: 10,748 Регистрация: 2-December 09 Из: Москва Пользователь №: 6,977 место дислокации: москва |
гламурно... -------------------- |
| SAVant |
Aug 23 2010, 08:12 PM
Сообщение
#19
|
![]() Черепашка-молния ![]() ![]() ![]() ![]() ![]() ![]() ![]() ![]() ![]() ![]() Группа: завсегдатый Сообщений: 1,315 Регистрация: 21-November 08 Из: Нижегородка-Зорге Пользователь №: 5,745 место дислокации: Солнечный Башкортостаний |
гламурно... Наверное в данном случае узкая стиральная машина - это минус -------------------- |
| ghost |
Aug 23 2010, 08:31 PM
Сообщение
#20
|
![]() PRO-NOOB Группа: завсегдатый Сообщений: 10,748 Регистрация: 2-December 09 Из: Москва Пользователь №: 6,977 место дислокации: москва |
Наверное в данном случае узкая стиральная машина - это минус интересно, на сколько увеличилось качество стирки у машинки донора... -------------------- |
![]() ![]() |
| Текстовая версия | Сейчас: 31st January 2026 - 08:56 AM |
|
|
|
|
|
|
| Invision Power Board Default Green Skin by Professional n00b |