|
Sportage Club - - дом, где живут Kia Sportage основан в 2006г. |
Внимание! В целях борьбы со спамом, новые пользователи НЕ могут начинать новые темы в форуме. Поэтому просьба задавать вопросы в уже существующих ветках, схожих по тематике. Надеемся на Ваше понимание.

Здравствуйте, гость ( Вход | Регистрация )
|
Индивидуальный подход, запчасти гарантированного качества, многолетний опыт, никакого официоза - дружеская атмосфера! |
Обновление программного обеспечения блока управления двигателем, добавит лошадей, крутящего момента, снизит расход. |
Чистые форсунки - залог хорошей работы двигателя. Мы проверяем и промываем форсунки на профессиональном стенде. |
![]() ![]() |
| brat po razumu |
Jan 14 2010, 01:31 AM
Сообщение
#61
|
|
любитель ![]() ![]() ![]() ![]() ![]() ![]() ![]() ![]() ![]() ![]() Группа: завсегдатый Сообщений: 1,602 Регистрация: 24-September 07 Из: Полтава. Пользователь №: 3,240 место дислокации: Украина. Андрей. |
Люди, а Вам не кажется , что Вы маятесь фигней. Как можно сравнивать две обсолютно разные системы привода и подвески. Все давно придумано и втулки (Тойота), и нормальные иголки (Дайхатсу), зачем изобретать велосипед и скрещать Вшниву со СПОРТАЖОМ ...вот и я говорю - третий сезон на втулках с "ручками" ,а меня никто не слушает Но,зато,как поговорили! Аж на душе легче стало! -------------------- |
| Grey |
Jan 14 2010, 07:48 AM
Сообщение
#62
|
![]() грязелюбитель-теоретик... ![]() ![]() ![]() Группа: завсегдатый Сообщений: 268 Регистрация: 25-March 09 Из: Казахстан Пользователь №: 6,084 место дислокации: ЗКО, г. Уральск |
Аж на душе легче стало! :-D а у меня дуща все же просит взглянуть на поворотный кулак шнивы... может целиком его прибамбасить? нарезать другие шлицы на валу дело не сложное... -------------------- Kia Sportage Grand, 2002, РКПП, белый. KNAJA523935162719
лифт подвески MAX, Я-471 31х10,5 MEDVED на Lenso RA ET0, СВ 15C, 33C. |
| Simych |
Jan 14 2010, 08:46 AM
Сообщение
#63
|
|
грязелюбитель ![]() ![]() ![]() Группа: завсегдатый Сообщений: 173 Регистрация: 17-September 08 Пользователь №: 5,632 место дислокации: Челябинск |
Привет всем!
Тема для меня тоже интересная, т.к. сейчас езжу с включенными хабами и чувствую, что к весне уделаю игольчатые. Хочется их тоже заменить чем-нибудь более "удобоваримым". Мнения, как я понимаю, разделились. Я примыкаю к лагерю "любителей подшипников качения":) Вообще, у меня мысль такая: правую сторону заблокировать наглухо (хаб будет выступать только в роли "держателя" конца вала ШРУСа, ну и для "эстетичной симметрии". А левый хаб сделать отключаемым (в моем случае пока вручную). Получим что-то типа как на старых 4-раннер. При отключении хаба правый привод крутится вхолостую вместе с сателлитами и левым приводом. Плюс в сравнении с существующим положением для меня - включать только один хаб. Мелочь, конечно, и, возможно, блажь, но если я буду отказываться от иголок, то сделаю именно так. ЗЫ: Где-то были картинки ступиц НИВы и 2109. Пороюсь - выложу. ЗЗЫ: Ну все. Теперь ругайте! -------------------- Эх, как я все это замесю!!!
Коротыш 1997г, 2л, бензин - был. Паджеро 1991 г., Пруль, АКПП, 4Д56 - продал. L-200 2004г., МКПП, 4Д56 - продал Аваланш 2002г.- сейчас |
| Simych |
Jan 14 2010, 09:10 AM
Сообщение
#64
|
|
грязелюбитель ![]() ![]() ![]() Группа: завсегдатый Сообщений: 173 Регистрация: 17-September 08 Пользователь №: 5,632 место дислокации: Челябинск |
-------------------- Эх, как я все это замесю!!!
Коротыш 1997г, 2л, бензин - был. Паджеро 1991 г., Пруль, АКПП, 4Д56 - продал. L-200 2004г., МКПП, 4Д56 - продал Аваланш 2002г.- сейчас |
| Grey |
Jan 14 2010, 12:28 PM
Сообщение
#65
|
![]() грязелюбитель-теоретик... ![]() ![]() ![]() Группа: завсегдатый Сообщений: 268 Регистрация: 25-March 09 Из: Казахстан Пользователь №: 6,084 место дислокации: ЗКО, г. Уральск |
Я примыкаю к лагерю "любителей подшипников качения":) предлогай свою ищею, будем коллективным разумом размышлять.... -------------------- Kia Sportage Grand, 2002, РКПП, белый. KNAJA523935162719
лифт подвески MAX, Я-471 31х10,5 MEDVED на Lenso RA ET0, СВ 15C, 33C. |
| коротышка |
Jan 14 2010, 01:55 PM
Сообщение
#66
|
![]() отец ![]() ![]() ![]() ![]() ![]() ![]() ![]() Группа: завсегдатый Сообщений: 939 Регистрация: 11-November 09 Пользователь №: 6,883 место дислокации: Жуковский |
Цитата(CTAC @ Jan 14 2010, 01:56 AM)
Люди, а Вам не кажется , что Вы маятесь фигней. Как можно сравнивать две обсолютно разные системы привода и подвески. Все давно придумано и втулки (Тойота), и нормальные иголки (Дайхатсу), зачем изобретать велосипед и скрещать Вшниву со СПОРТАЖОМ или просто реально заняться не чем . ??????? - я вот тоже так думаю .... ведь на заводе - не дураки сидят ... и всё за нас уже:разработали, изобрели ,просчитали, изготовили .................... Если бы на их заводах сидели не дураки, то мы : 1-не парилист с вентиляцией (всякие паралонки недоставалииз багажника. 2- с вакуумом при вкл.ПП тоже не парились (это по моему просто самая крутаая идея - разработчикам выдать потент!!!) 3- пружины задние не были бы расходным материалом. 4- ну и на дорогу в темное время суток имело бы смысл смотреть, в смысле сейчас фары просто ...авно. 5- и последнее , 14-15 л бензина для такого Коротышки очень много (что бы на форомух не писали, я три года на Спортаже, до этого был Блейзер 1998г 4,3 литрасидите крепко?) просил в смешаном режиме 15-16л 92 бензина. При психически уравновешанном стиле езды. -------------------- Коротышка был - это про Спортажика, а теперь Слоник.
|
| Mark_KA |
Jan 14 2010, 02:06 PM
Сообщение
#67
|
![]() Обитатель грязи! ![]() ![]() ![]() ![]() ![]() ![]() ![]() Группа: завсегдатый Сообщений: 585 Регистрация: 4-May 07 Из: Ульяновск Пользователь №: 2,682 место дислокации: Ульяновск |
|
| Grey |
Jan 14 2010, 02:12 PM
Сообщение
#68
|
![]() грязелюбитель-теоретик... ![]() ![]() ![]() Группа: завсегдатый Сообщений: 268 Регистрация: 25-March 09 Из: Казахстан Пользователь №: 6,084 место дислокации: ЗКО, г. Уральск |
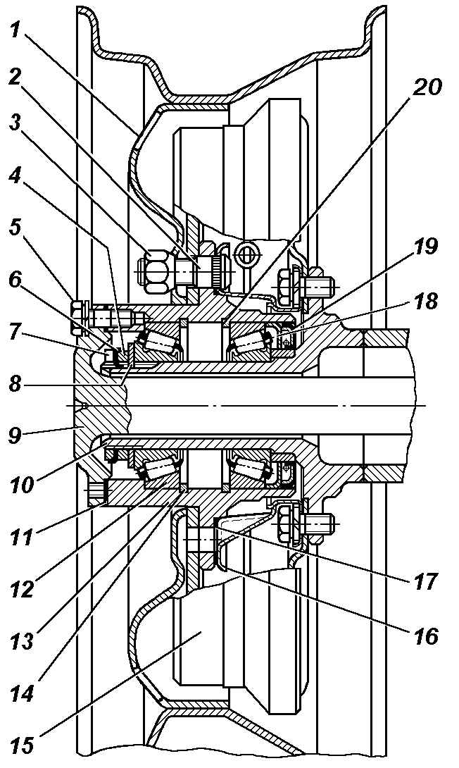
посмотреть фотографии того как сделан интересующий нас узел на УАЗе можно тут:
Снятие и установка поворотного кулака УАЗ http://www.uaz-autos.ru/hunter/283.htm Регулировка и замена шаровых шкворней http://www.uaz-autos.ru/hunter/276.htm -------------------- Kia Sportage Grand, 2002, РКПП, белый. KNAJA523935162719
лифт подвески MAX, Я-471 31х10,5 MEDVED на Lenso RA ET0, СВ 15C, 33C. |
| CTAC |
Jan 14 2010, 02:13 PM
Сообщение
#69
|
![]() властелин грязи ![]() ![]() ![]() ![]() ![]() ![]() ![]() ![]() ![]() ![]() Группа: завсегдатый Сообщений: 2,958 Регистрация: 19-March 08 Из: Пироговские МЫ, центр однако Пользователь №: 4,744 место дислокации: Санкт-Петербург |
Цитата(CTAC @ Jan 14 2010, 01:56 AM) Люди, а Вам не кажется , что Вы маятесь фигней. Как можно сравнивать две обсолютно разные системы привода и подвески. Все давно придумано и втулки (Тойота), и нормальные иголки (Дайхатсу), зачем изобретать велосипед и скрещать Вшниву со СПОРТАЖОМ или просто реально заняться не чем . ??????? - я вот тоже так думаю .... ведь на заводе - не дураки сидят ... и всё за нас уже:разработали, изобрели ,просчитали, изготовили .................... Если бы на их заводах сидели не дураки, то мы : 1-не парилист с вентиляцией (всякие паралонки недоставалииз багажника. 2- с вакуумом при вкл.ПП тоже не парились (это по моему просто самая крутаая идея - разработчикам выдать потент!!!) 3- пружины задние не были бы расходным материалом. 4- ну и на дорогу в темное время суток имело бы смысл смотреть, в смысле сейчас фары просто ...авно. 5- и последнее , 14-15 л бензина для такого Коротышки очень много (что бы на форомух не писали, я три года на Спортаже, до этого был Блейзер 1998г 4,3 литрасидите крепко?) просил в смешаном режиме 15-16л 92 бензина. При психически уравновешанном стиле езды. Так купите себе по Вшивой Ниве и не парьтесь с иголками, вентиляцией, вакуумом и прочим Авто ВАЗ Рулит Короче, набрал попкорна, жду когда покажут сиськи -------------------- |
| Grey |
Jan 14 2010, 03:31 PM
Сообщение
#70
|
![]() грязелюбитель-теоретик... ![]() ![]() ![]() Группа: завсегдатый Сообщений: 268 Регистрация: 25-March 09 Из: Казахстан Пользователь №: 6,084 место дислокации: ЗКО, г. Уральск |
-------------------- Kia Sportage Grand, 2002, РКПП, белый. KNAJA523935162719
лифт подвески MAX, Я-471 31х10,5 MEDVED на Lenso RA ET0, СВ 15C, 33C. |
| serg898 |
Jan 14 2010, 03:45 PM
Сообщение
#71
|
![]() Обитатель грязи! ![]() ![]() ![]() ![]() ![]() ![]() ![]() Группа: завсегдатый Сообщений: 721 Регистрация: 13-February 09 Из: Самара Пользователь №: 5,955 место дислокации: Самара |
Если бы на их заводах сидели не дураки, то мы : 1-не парилист с вентиляцией (всякие паралонки недоставалииз багажника. 2- с вакуумом при вкл.ПП тоже не парились (это по моему просто самая крутаая идея - разработчикам выдать потент!!!) 3- пружины задние не были бы расходным материалом. 4- ну и на дорогу в темное время суток имело бы смысл смотреть, в смысле сейчас фары просто ...авно. 5- и последнее , 14-15 л бензина для такого Коротышки очень много (что бы на форомух не писали, я три года на Спортаже, до этого был Блейзер 1998г 4,3 литрасидите крепко?) просил в смешаном режиме 15-16л 92 бензина. При психически уравновешанном стиле езды. 1)а не кто и не парится - сделал и забыл 2) - смотри пункт 1 3) ... за 10 лет меняли один раз ( я думаю это нормально) 4) поставил БИ ксенон ( без линз) - песня ( канеш не так как с линзами) ... дальше пункт 1 5) ... токо город - 16-17 литров... а может и 18 Так купите себе по Вшивой Ниве и не парьтесь с иголками, вентиляцией, вакуумом и прочим Авто ВАЗ Рулит Короче, набрал попкорна, жду когда покажут сиськи -ух ты ...а что правда будут показывать??? -------------------- ...одно нецензурное слово автослесаря, может означать до пятидесяти различных запчастей ,инструментов и приспособлений...
|
| Simych |
Jan 14 2010, 05:41 PM
Сообщение
#72
|
|
грязелюбитель ![]() ![]() ![]() Группа: завсегдатый Сообщений: 173 Регистрация: 17-September 08 Пользователь №: 5,632 место дислокации: Челябинск |
"Так купите себе по Вшивой Ниве и не парьтесь с иголками, вентиляцией, вакуумом и прочим
Авто ВАЗ Рулит" Ну вот, сразу ругаться и пальцем показывать. Когда я Спортягу брал, у меня была возможность за абсолютно те же деньги взять Шниву 2003 года в отл. сост. Но АвтоВАЗ не рулит ни разу! Но не рулит он не потому, что конструкция плохая, а потому, что качество А повторить что-либо, подобное ступице Нивы или Уаза, на Спортяге без кардинального изменения поворотного кулака невозможно. Где бы найти чертежи этих деталей? Да снять размеры с родного. Кстати, не только ведь у Нивы и Уаза полный привод есть! -------------------- Эх, как я все это замесю!!!
Коротыш 1997г, 2л, бензин - был. Паджеро 1991 г., Пруль, АКПП, 4Д56 - продал. L-200 2004г., МКПП, 4Д56 - продал Аваланш 2002г.- сейчас |
| CTAC |
Jan 14 2010, 06:27 PM
Сообщение
#73
|
![]() властелин грязи ![]() ![]() ![]() ![]() ![]() ![]() ![]() ![]() ![]() ![]() Группа: завсегдатый Сообщений: 2,958 Регистрация: 19-March 08 Из: Пироговские МЫ, центр однако Пользователь №: 4,744 место дислокации: Санкт-Петербург |
Тут я думаю так. Нива и т.д фулл тайм привода крутяться постоянно по этому и конструкция такая. У нас подключаемый привод. Основной привод задний. Нам не надо постоянно вращать кучу детале (привода, передний редуктор, кардан) для того конструкторы и сделали такой узел и не только на Спортаже. При надлежащем уходе , он работает. Главное следить и вовремя обслуживать. Вечного ничего не бывает. Для тяжелых условий эксплуатации (экспедиция , соревнование) можно доделать узел поставив втулки или подшипники понадежней и ручные хабы. Для сведения и на Паджеры ,Сорики и на 4Ранеры народ ставит хабы и выкидывает штатную систему подключения привода. Потому что не правильно когда крутятся лишние детали при обыкновенной езде (т.е на заднем приводе)Если охота менять не только иголки , а передний редуктор , привода, кардан то флаг в руки. Не зря придумали это, не надо это ломать.Оно должно работать так. Обслуживать надо вовремя и денег на мелочи не жалеть , чтобы потом не мелочи не пришлось менять . Просто правильно обслуживайте машину и она прослужит долго и правильно. А весь колхоз приведет только к геморою.
Сиськи скоро должны быть. -------------------- |
| коротышка |
Jan 14 2010, 08:11 PM
Сообщение
#74
|
![]() отец ![]() ![]() ![]() ![]() ![]() ![]() ![]() Группа: завсегдатый Сообщений: 939 Регистрация: 11-November 09 Пользователь №: 6,883 место дислокации: Жуковский |
Сиськи уже закончились.
-Живу за городом -хабы выщел включил 1 -Еду на работу в Москву (естественно по шоссе) - вышел выключил 2 -На работе припарковаться бордюр+сугроб -вышел включил 3 -Из конторы ехать к клиенту - вышел выключил 4 -У клиента если негде встать, опять ПП - вышел включил 5 -Дорога домой (из Москвы) по шоссе - вышел выключил 6 -В своем загороде понормальному (всетаки ДЖИП) разъехаться с легковушками, да к гаражу подъехать - вышел включил 7 При таком фитнесе ни сисек ни живота не будет ЗЫ: Поехать грязь помесить - верно включил покатался и тихонько к дому - че про хабы вспоминать, включил и забыл. ЗЫ ЗЫ: отличие от Нивы - ботинки у нас грязные, а руки чистые ЗЫ ЗЫ ЗЫ: была бы развесовка по осям чуть другая, а то на заднем приводе на хорошей резине, НО на скользком (гряз, трава, лед, мокр.снег) машина едет оч.плохо. Слово проходимость употребить вообще считаю невозможно. Правда АКПП чуть помагает...раслабиться...и смотреть по сторонам ... на сиськи -------------------- Коротышка был - это про Спортажика, а теперь Слоник.
|
| 609 |
Jan 14 2010, 08:34 PM
Сообщение
#75
|
![]() Саксаул форума Группа: завсегдатый Сообщений: 11,164 Регистрация: 21-June 07 Из: Путера Пользователь №: 2,813 место дислокации: Гражданка, Северный |
Сиськи уже закончились. -Живу за городом -хабы выщел включил 1 -Еду на работу в Москву (естественно по шоссе) - вышел выключил 2 -На работе припарковаться бордюр+сугроб -вышел включил 3 -Из конторы ехать к клиенту - вышел выключил 4 -У клиента если негде встать, опять ПП - вышел включил 5 -Дорога домой (из Москвы) по шоссе - вышел выключил 6 -В своем загороде понормальному (всетаки ДЖИП) разъехаться с легковушками, да к гаражу подъехать - вышел включил 7 При таком фитнесе ни сисек ни живота не будет ЗЫ: Поехать грязь помесить - верно включил покатался и тихонько к дому - че про хабы вспоминать, включил и забыл. ЗЫ ЗЫ: отличие от Нивы - ботинки у нас грязные, а руки чистые ЗЫ ЗЫ ЗЫ: была бы развесовка по осям чуть другая, а то на заднем приводе на хорошей резине, НО на скользком (гряз, трава, лед, мокр.снег) машина едет оч.плохо. Слово проходимость употребить вообще считаю невозможно. Правда АКПП чуть помагает...раслабиться...и смотреть по сторонам ... на сиськи В таком режиме - прямая дорога к восстановлению вакуума, как это сделал Кросс. Или автоматы поставить - многие на них годами без пролем ездят. Лично меня втулки с ручками устраивают за глаза. Живу и работаю в городе, раздатку дергаю раз по 20 в день. При выходе на трассу раз в неделю ручки крутануть не западло. -------------------- Ротор поля наподобие дивергентсии градуирует себя вдоль спина и там, внутре, обращает материю вопроса в спиритуальные електрические вихри, из коих и возникает синекдоха отвечания.
(с) Стругацкие А какой смысл покупать машину, чтобы разъезжать по асфальту? Там, где асфальт, ничего интересного, а где интересно, там нет асфальта... (с) Стругацкие ![]() Ищу по форуму. Дорого. |
| коротышка |
Jan 14 2010, 08:42 PM
Сообщение
#76
|
![]() отец ![]() ![]() ![]() ![]() ![]() ![]() ![]() Группа: завсегдатый Сообщений: 939 Регистрация: 11-November 09 Пользователь №: 6,883 место дислокации: Жуковский |
NO вакуум. Никогда, ни зачто.
Вращение всего железа до раздатки в холостую ? Скажи сколько проехал и были ли проблемы? -------------------- Коротышка был - это про Спортажика, а теперь Слоник.
|
| 609 |
Jan 14 2010, 08:49 PM
Сообщение
#77
|
![]() Саксаул форума Группа: завсегдатый Сообщений: 11,164 Регистрация: 21-June 07 Из: Путера Пользователь №: 2,813 место дислокации: Гражданка, Северный |
Вращение всего железа до раздатки в холостую ? Скажи сколько проехал и были ли проблемы? Езжу активно месяц. Ручки выключал только пару раз - у нас в Питере жопа что творится.... Около тысячи пробежал - люфтов нет, недавно дергал. Брат По Разуму уже третий год ездит. У Костика (АКА Kostetik) после 20 тык никаких люфтов во втулках не было, а он на спортаже в соревнованиях учавствовал. Поговори с Деном (АКА Striker) - у него тоже втулки стояли. -------------------- Ротор поля наподобие дивергентсии градуирует себя вдоль спина и там, внутре, обращает материю вопроса в спиритуальные електрические вихри, из коих и возникает синекдоха отвечания.
(с) Стругацкие А какой смысл покупать машину, чтобы разъезжать по асфальту? Там, где асфальт, ничего интересного, а где интересно, там нет асфальта... (с) Стругацкие ![]() Ищу по форуму. Дорого. |
| коротышка |
Jan 14 2010, 09:01 PM
Сообщение
#78
|
![]() отец ![]() ![]() ![]() ![]() ![]() ![]() ![]() Группа: завсегдатый Сообщений: 939 Регистрация: 11-November 09 Пользователь №: 6,883 место дислокации: Жуковский |
Есть понял.
-------------------- Коротышка был - это про Спортажика, а теперь Слоник.
|
| serg898 |
Jan 14 2010, 11:51 PM
Сообщение
#79
|
![]() Обитатель грязи! ![]() ![]() ![]() ![]() ![]() ![]() ![]() Группа: завсегдатый Сообщений: 721 Регистрация: 13-February 09 Из: Самара Пользователь №: 5,955 место дислокации: Самара |
[quote name='коротышка' date='Jan 14 2010, 09:11 PM' post='96518']
Сиськи уже закончились. -Живу за городом -хабы выщел включил 1 -Еду на работу в Москву (естественно по шоссе) - вышел выключил 2 -На работе припарковаться бордюр+сугроб -вышел включил 3 -Из конторы ехать к клиенту - вышел выключил 4 -У клиента если негде встать, опять ПП - вышел включил 5 -Дорога домой (из Москвы) по шоссе - вышел выключил 6 -В своем загороде понормальному (всетаки ДЖИП) разъехаться с легковушками, да к гаражу подъехать - вышел включил 7 При таком фитнесе ни сисек ни живота не будет 1) ... жалко 2)...да, я б вам автоматы по советовал 3) 4 года на машине уже стоят (ездию зимой - включаю часто т.к. резина уже не айс...)из минусов - 2ВД + понижайка = не возможны -------------------- ...одно нецензурное слово автослесаря, может означать до пятидесяти различных запчастей ,инструментов и приспособлений...
|
| CTAC |
Jan 15 2010, 12:41 AM
Сообщение
#80
|
![]() властелин грязи ![]() ![]() ![]() ![]() ![]() ![]() ![]() ![]() ![]() ![]() Группа: завсегдатый Сообщений: 2,958 Регистрация: 19-March 08 Из: Пироговские МЫ, центр однако Пользователь №: 4,744 место дислокации: Санкт-Петербург |
посмотреть фотографии того как сделан интересующий нас узел на УАЗе можно тут: Снятие и установка поворотного кулака УАЗ http://www.uaz-autos.ru/hunter/283.htm Регулировка и замена шаровых шкворней http://www.uaz-autos.ru/hunter/276.htm Если все хотят застопорить привода навсегда, какой смысл схемы УАЗки , там все как у нас. Втулки или иголки. И менять их тоже надо довольно часто. Да и на других машинах после гонки эти узлы разбираются, моются и смазываются. А на Нивах в основном меняются привода. Из всего вышеперечитаного хочу сделать вывод. На лето : Иголки или втулки, ручки (для внедорожья) , вакуум или усиленные автоматы (для гражданской езды) На зиму : Иголки или втулки, вакуум(для города , пригорода) или усиленный автомат.(лесов ,полей и ...) Не забывать обслуживать узел. И помнить , что сальники игольчатых надо менять не только для того что бы работал вакуум(как многие считают) , но и для того , что бы туда не попадала вода и грязь. Ну, а спортсменам ,РУЧКИ, обслуживание узла после каждой гонки. И не забывать проверять лювты ступичных подшипников и места работы сальников ступиц.(ставить лучше которые для вакуума предназначены всем.) Ну примерно так и будет счастье. -------------------- |
![]() ![]() |
| Текстовая версия | Сейчас: 29th January 2026 - 06:29 AM |
|
|
|
|
|
|
| Invision Power Board Default Green Skin by Professional n00b |